Toyota запатентовала «надувной руль»
- Новости
- 12 февраля 2022
Компания Toyota зарегистрировала в базе патентов рулевое колесо с изменяемыми размерами обода. На новую документацию обратил внимание портал Autoevolution. Разработка направлена на внедрение автономных систем вождения.
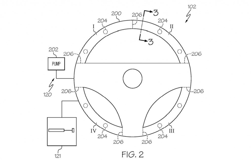
Свою запатентованную технологию изменяемого в размерах обода рулевого колеса, инженеры Toyota позиционируют, как способ упрощённого взаимодействия водителя и систем автономного вождения.

Изобретение включает в себя встроенный насос и мягкий обод руля. Подразумевается, что когда водитель самостоятельно управляет автомобилем, обод будет утолщаться, чтобы лучше контактировать с руками. Когда понадобится вмешательство автономных систем, руль будет «сдуваться», чтобы электроника не испытывала сопротивление рук человека.
Свою новую разработку японцы собираются применить на концептах и прототипах полуавтономных и беспилотных транспортных средств. Когда надувные рули поступят в серийное производство, не сообщается.


