Новая кузовная дверь Ford F-150 вобрала в себя всё лучшее
- Новости
- 13 января 2022
У Ford появилась многофункциональная конструкция кузовной двери.
Пикапы в Северной Америке – это большой бизнес. И достаточно посмотреть на показатели продаж, чтобы понять, что фордовская серия F не первый год доминирует на рынке. А в условиях жёсткой борьбы за покупателя, производителям необходимо постоянно опережать конкурентов. И в последнее время мы стали свидетелями того, как обычная задняя дверь кузова, превратилась в поле битвы «большой тройки», потому что Chevrolet и RAM буквально изобретают её заново, пытаясь сделать более функциональной и удобной.

При этом Ford F-150 как-то подотстал, не предлагая ничего необычного, за исключением рабочей поверхности задней двери с нишами для инструментов (встроенной измерительной ленты/линейки и других маленьких хитростей). Но ситуация скоро изменится, потому что CarBuzz обнаружил новые патентные заявки Ford в области многофункциональных кузовных дверей.

Ещё в августе 2020 года стало известно, что Ford работает над многофункциональной дверью, но в то время это были всего лишь слухи. В отчётах утверждалось, что Ford провёл сравнительный анализ систем, используемых RAM и Chevrolet, и разработал новый дизайн с тройным делением, который превзошёл обоих.

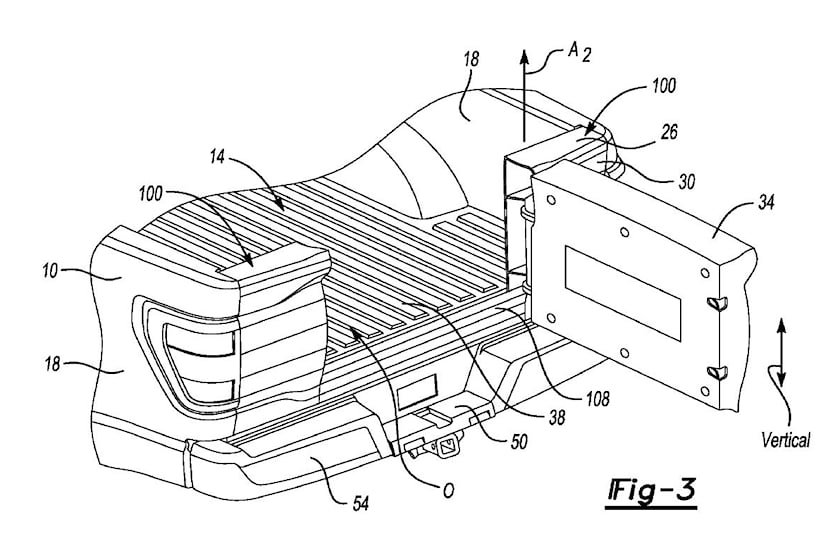
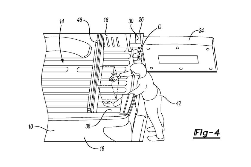
Теперь по патентным документам видно, что эти сообщения были правдивы. Конструкция кузовной двери Ford, у которой пока нет названия, разделена на три горизонтальных секции. Средняя работает как распашная дверь с боковыми петлями, открывающуюся для облегчения доступа в кузов. Это похоже на многофункциональную дверь RAM 1500, за исключением того, что она распахивается только с одной стороны, в то время как решение Ford облегчает доступ ко всем частям кузова.

Кроме того, Ford уже сегодня предлагает ступеньку в кузов, которая должна быть более удобной, чем шевролетовская, использующая верхнюю часть задней двери. В «Форде» её назвали Man Step, что-то вроде «шага человека» или «ступеньки человека».

Наконец, патент демонстрирует, как оба открывающихся элемента двери могут управляться электронным способом. С помощью кнопок на приборной панели или кнопок на брелке, водители смогут дистанционно открывать либо всю заднюю дверь, либо её центральную распашную часть.
Пока нет ни слова о том, как будет называться новый дизайн многофункциональной кузовной двери, но если отталкиваться от названия порога Man Step (ступенька человека), то возможно подошло бы Man Gate (ворота человека).


