Новое рулевое колесо Mercedes-Benz сохранит хладнокровие водителя
- Новости
- 3 февраля 2022
Немцы запатентовали уникальную идея комфорта.
В последнее время в ведомства по интеллектуальной собственности было подано много новых патентных заявок, значительная часть которых посвящена переосмыслению конструкции рулевого колеса. Многие из них были довольно странными, включая в себя функции, которые, мягко говоря, кажутся ненужными. Hyundai, например, запатентовал руль, полностью заменяющий приборную панель.

Но теперь появилось ещё одно изобретение, и нам кажется, что в нём есть некоторый смысл. В патентной заявке, поданной в немецкое ведомство по товарным знакам, Carbuzz обнаружил Mercedes-Benz будущего, оснащённый обновлённым рулевым колесом, которое наверняка вас поразит.

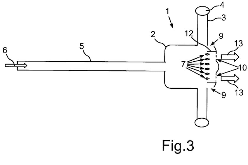
Документы подтверждают то, что изображено на эскизах: систему, которая может направлять воздушный поток через ступицу рулевого колеса, а затем рассеивать воздух через «воздухопроницаемые поверхности и материалы». Самый простой способ понять принцип работы устройства, это сравнить его с потоком воздуха, идущим из вентилируемого сиденья. В качестве дополнительного бонуса установка может нагревать воздух зимой, так что вы сможете прекрасно чувствовать себя при любой температуре за окном.

Кроме того, Mercedes-Benz учтёт влияние, которое система климат-контроля будет оказывать на водителя, и смягчит поток воздуха и температуру таким образом, чтобы вы никогда не смогли заметить их явного изменения.

Наконец, автопроизводитель предусмотрел различные способы регулировки воздушного потока, предоставляя водителю возможность направлять воздух в определённое место или распределять его по большой площади. Например, он может дуть прямо на ваши ладони или рассеиваться по верхней части тела.


