Mazda запатентовала двухтактный двигатель с наддувом
- Новости
- 5 февраля 2022
Компания Mazda оформила в США патент на конструкцию бензинового двухтактного двигателя внутреннего сгорания с наддувом. Патент интригует, ведь вы не найдёте двухтактные ДВС ни в одном современном автомобиле.
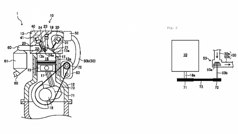
В патенте отмечается, что бензиновый двухтактный двигатель с наддувом от Mazda при низких нагрузках воспламеняется от сжатия, как дизельные моторы, но при высоких нагрузках переходит на воспламенение от искры. В силовом агрегате применена регулировка фаз газораспределения для поддержания высокой степени сжатия при работе в условиях самовоспламенения. При использовании искрового зажигания синхронизация изменится, чтобы уменьшить степень сжатия и предотвратить детонацию.
Подобная технология применена в бензиновом двигателе Mazda Skyactiv-X, который также способен менять режимы воспламенения в зависимости от условий эксплуатации.

В патенте отмечается, что новый двухтактный двигатель с наддувом обладает лучшей экономией топлива. Впрочем, Mazda не поясняет, с каким из существующих моторов идёт сравнение. Напомним, что основным недостатком двухтактных двигателей являются повышенные выбросы выхлопных газов. В патенте не указанно, смогли ли инженеры Mazda как-то решить эту проблему.
В какой отрасли компания Mazda собирается использовать свой новый двухтактный бензиновый мотор с наддувом, не сообщается. Гипотетически можно предположить, что японская компания намеревается выпускать подобные моторы для мотоциклов и квадроциклов.


